500風量DOP液槽高效送風口產品介紹:
500風量DOP液槽高效送風口是高效送風口的一種做法。
500風量DOP液槽高效送風口是高效送風口的一種做法。
具有可更換高效過濾器的已液體密封方式的高效送風口,DOP液槽高效送風口(Pharmagel)廣泛應用于醫院、生物制藥、半導體、液晶制造、精密機械、光學等技術領域。

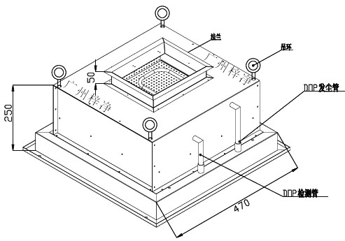
500風量DOP液槽高效送風口方案設計圖:


推薦了解更多圖片信息:雙液槽高效過濾器圖片
配套手動調節閥尺寸:方形200*200mm
500風量DOP液槽高效送風口技術參數表:

500風量DOP液槽高效送風口設計特點:
1、箱體表面采用靜電噴塑處理,耐腐蝕性強,液槽密封設計進一步增強 了它的獨特性。箱體主要采用冷軋鋼板已焊接的方式連接,且所有的焊接都經過 特殊的膠密封處理,以防止空氣泄漏。散流板以固定螺栓所固定,安裝及拆卸較為方便,更換過濾器時,可直接在天花底部進行操作,而無需拆除天花 板系統上的箱體。
2、箱體頂部進風口中裝有蝶形風閥,且在箱體底部的側面用一個旋轉的閥門調節裝置控制,以調節進入潔凈室內的風量。
3、過濾器的框架通過箱體四周的過濾器壓件所支撐固定,為方便更換過濾器,所有過濾器壓件能自由旋轉。
4、并可防止空氣通過倒行框架泄漏及箱體刀邊滑出過濾器框架膠槽。

相關產品視頻:500風量DOP高效送風口
由于DOP液槽高效送風口主要用于GMP制藥廠潔凈室高效送風,制作結構復雜,價格昂貴,如果不是藥廠可選用普通新型高效送風口。
普通新型高效送風口主要有:
